SRAM patents a front derailleur integrated into the chainring
The American company continues to surprise us with its crazy ideas that it protects through patents. This time it's the turn of the double chainrings system, but without the front derailleur as we know it, instead integrating the system into the crankset itself. An idea that no one knows if it will become a reality, but it demonstrates the inventive capacity of SRAM engineers.

The double chainring system could come back into fashion if SRAM develops its latest patent
When it seems that, except for road bikes where there is still a way to go before being able to do without it, the double chainring system is on its way out in favor of the mechanical simplicity of single chainring groups that currently achieve a great balance between gear range and progression, SRAM presents a new patent that shows that its engineers have not forgotten about this configuration and are looking to improve what has historically been the weak point of transmissions.
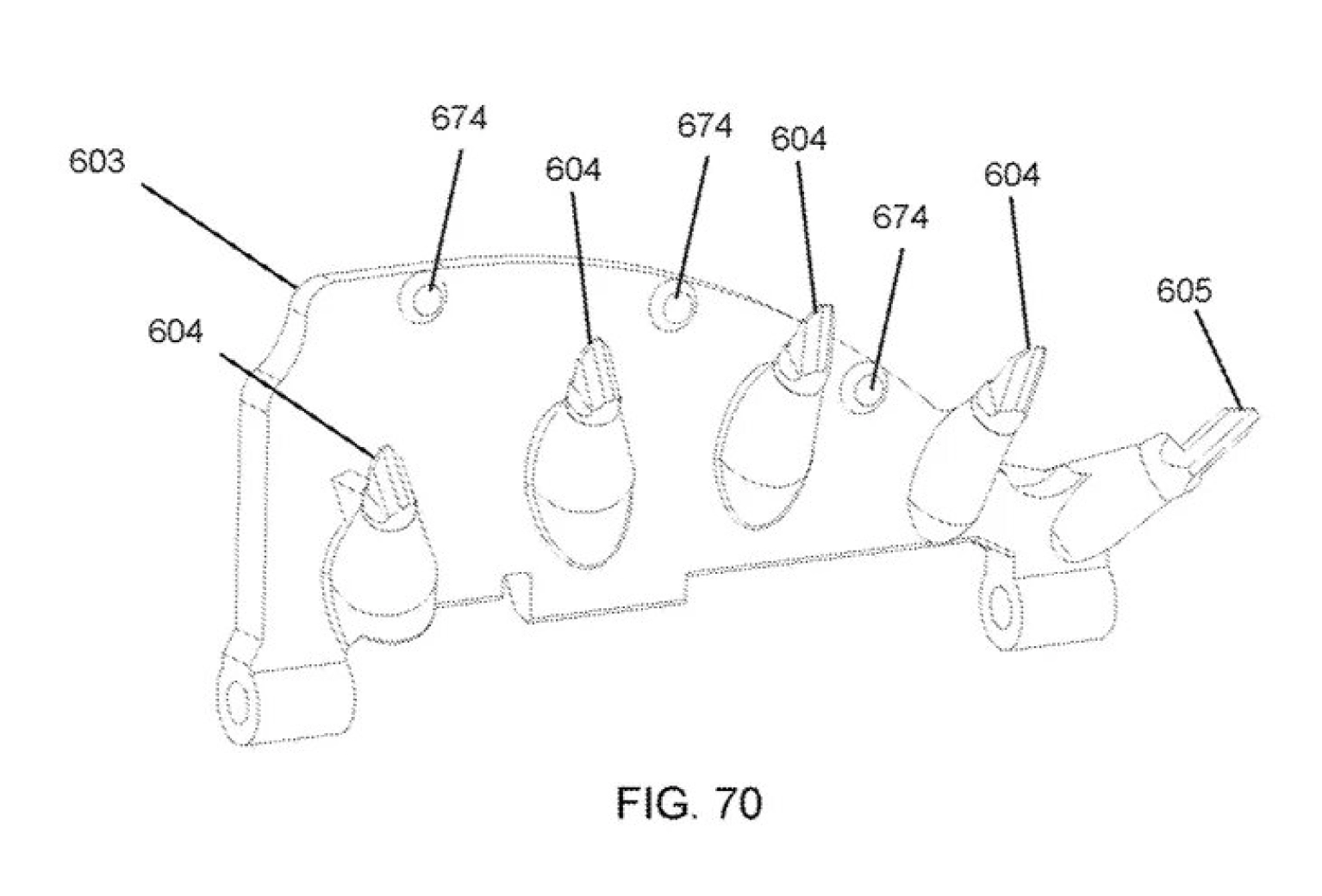
SRAM's proposal consists of integrating the chainring change into the crankset itself. A chainring change of conventional concept, that is, with the chain jumping between two chainrings and not a gear reduction system like the Classified hubs or the Hammerschmidt cranksets that SRAM itself marketed a few years ago.
RECOMENDADO

However, it is difficult to believe that a development like the one shown in the patent diagrams will materialize, with a system that looks quite complex and many moving parts that would obviously be wirelessly operated through SRAM's AXS technology.
The shifting system proposed by SRAM consists of two external plates located on the outer face of the chainring in line with the crankset so that the shift is made during the part of the pedal stroke where less force is exerted, that is, when the cranks are vertical. These plates would be responsible for moving the chain out of place by pushing it from the outside until it falls onto the small chainring.
The system looks more complex to move the chain up to the large chainring, for which the large chainring, on its inner part, has small guide teeth that guide the chain from the small chainring. Just like with the shift from large to small, small plates would move the chain out of the teeth, causing it to engage with the guides to move smoothly and, again, coinciding with the part of the pedal stroke where less force is exerted, up to the large chainring.

A system that, beyond its apparent complexity, it is expected that if it were to be further developed, it would be simplified and refined, has a certain logic when non-standard shaped bikes start to appear like Baldiso One or the Rondo IOON that we talked about yesterday, besides that, the absence of a front derailleur may provide greater freedom for bike brands' engineers to optimize the wheel clearances of bikes, which are increasingly wider; or improve the stiffness of the bottom bracket area.
 
                        
                     
                        
                     
                        
                     
                        
                     
                        
                    