SRAM solar panels for mounting and charging electronic components
SRAM patents a solar panel system to charge the spare AXS battery. The American giant makes a bold move with small solar panels installed on the mudguards and bottle holders. At the moment, it is just a project, but it shows us the direction the sector could take in the immediate future.

SRAM raises the stakes: generating energy to charge the batteries of electronic components
Cycling is in a constant evolution that seems to be getting faster and faster. Manufacturers are eager to find the next trend that will amaze the market; being the first means starting with an advantage and forcing the rest to play the game on their field. That's why patents are the order of the day. If recently SRAM came to the fore with new Red AXS levers, it is now back in the news.
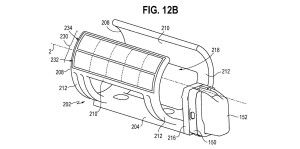
SRAM has patented a system to generate solar energy and use it to charge the spare AXS battery. The idea is to mount solar panels on the mudguards -front and rear- and the bottle holders and take advantage of this energy, in order to eliminate the dreaded possibility of running out of electronic components in the middle of the route.
RECOMENDADO
A real workout saver of only 56 min on the turbo trainer
Which profile wheels to choose according to the area where you live: mountain, flat or coast
Will the single chainring prevail on the road? This is the state of technology today
How to wash your cycling clothes? 10 keys to make them always look new
Cycling can help you fight the effects of the time switch
Tips for cycling in the rain

The invention -registered as a patent under the name US 11894716 B2- would allow to generate energy without the cyclist having to be involved in the process. In fact, it would be enough for the light to reach the panels, so it could work even without the bike being in motion.
SRAM divides the system into three components: a platform composed of a set of solar cells, a capacitor and a battery charging unit. The system's ability to transmit energy to a battery ranges in a voltage between 6 and 8.4 volts. Under the best conditions, it could take about two hours to charge a 2.2 Wh AXS battery.

It is true that many cyclists who use AXS batteries already carry a charged spare battery to mount it in case the main one runs out. Even so, SRAM also admits that batteries can lose charge even when not in use, although the wear is slow.
Moreover, long-distance cycle tourists could see a good option that would allow them to be independent and stop thinking about when and where to stop to charge.

Be that as it may, SRAM has patented the system and only time will tell if the market welcomes it with open arms. Patents are just projects that may never see the light of day, so drawing conclusions today is actually premature.
However, ideas can also materialize and are an excellent way to observe what is going through the minds of the main players in the sector who, like SRAM, are vying for market dominance.